Hilfe bei Kity 429 Spindel ausbauen gesucht

mc2

ww-robinie
Registriert
23. Oktober 2022
Beiträge
1.817
Ort
Ilshofen
Meine „neue“ Kity 429 hat eine verbogene Spindel.
Unten an der Aufnahme läuft sie wunderbar rund, bis oben hin sind es ca. 5/10 die eiern.

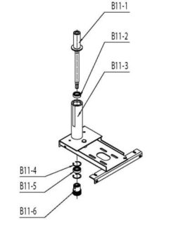
Ich hab jetzt die Maschine zerlegt, bekomme aber die Spindel nicht raus. Wenn ich die Ersatzteilliste anschaue, sind über der Riemenscheibe Seegerring-Kugellager-Seegerring. Aber da komme ich nicht hin, weil ich die Riemenscheibe nicht abbekomme. Ich vermute, die ist auf das untere Gewinde der Spindel geschraubt, aber da löst sich nichts.

IMG_2103.jpeg

IMG_0830.jpeg

IMG_0829.jpeg

Hat jemand einen Rat?
 

Holz635

ww-robinie
Registriert
9. August 2022
Beiträge
817
Ort
76829 SÜW
Zuletzt bearbeitet:

Holz635

ww-robinie
Registriert
9. August 2022
Beiträge
817
Ort
76829 SÜW
Ich kenne die Maschine nicht. Aber, da bis jetzt keiner geantwortet hat....
Bei der Suche habe ich folgendes Ersatzteil gefunden. Ich kann an der Spindel unten außen kein Gewinde erkennen.

https://www.probois-machinoutils.co...estcombi-kity-429-und-scheppach-molda-20.html

Ich kann das auf deinem Foto leider nicht richtig erkennen. Steckt da von unten eine Innen-Sechskant Schraube drin?
Brauchst eigentlich noch Hilfe, oder hat es sich erledigt?

https://www.kleinanzeigen.de/s-anzeige/tischfraese-kity-429-ersatzteile/2594252402-84-18622
 

mc2

ww-robinie
Registriert
23. Oktober 2022
Beiträge
1.817
Ort
Ilshofen
Nein, kein Sechskant.

Kleinanzeige: Damit will ich testen, ob ich es verkauft bekomme , sie herrichte oder als Totalschaden abschreibe.
Wenn ich 100 € bekomme, ist das okay.
Die Spindel kostet netto 140 €, wenn die Riemenscheibe auch neu Muss, sind das nochmal 40 plus Versand = Totalschaden
 

mc2

ww-robinie
Registriert
23. Oktober 2022
Beiträge
1.817
Ort
Ilshofen
Also, die Alu Riemenscheibe ist/war augepresst. Mit gezielten Hammerschlägen konnte sie ausgetrieben werden.
Hatte noch die Hoffnung, es sind die Kugellager, aber auch die 2 neuen brachten keine Besserung.
Jetzt hab ich für meine Triton einen neuen Trästisch gemacht, wo ich den Anschlag und Schlitten verwenden kann. Fehlen noch die Räder, dass es Mobil ist, dann zeig ich es mal.
 

netsupervisor

Gäste
Die Spindel kannst du durch gezielte Hammerschläge wieder in den Rundlauf bekommen, aber auf jeden Fall Bohrungen und Gewinde vor der Verformung schützen. 5/10 sind extrem viel, dann muss sie auch einen Schlag ordentlich abbekommen haben. Besser ist, die Spindel im ausgebauten Zustand in der Hydraulikpresse gerade zu richten. Wie hast du gemessen? Mit der Messuhr und dem Drehen an der Riemenscheibe?
 

mc2

ww-robinie
Registriert
23. Oktober 2022
Beiträge
1.817
Ort
Ilshofen
Nicht gemessen, geschätzt durch drehen und für zu viel befunden Ich werde da nicht noch mehr Zeit oder Geld investieren.
Für die eingebaute Triton hab ich für Anschlag und Schlitten bereits Verwendung gefunden.
 
Oben Unten